Rope washing machine – tight rope washing machine
The rope washing machine is specially used for cleaning rope fabrics. It can also be used as equipment for padding desizing agents, scouring agents, bleaching agents and other chemical solutions for rope fabrics. Therefore, it is an important unit machine that constitutes the rope scouring and bleaching combined machine. According to the tension of the fabric operation, it can be divided into two types: tight rope washing machine and loose rope washing machine.
1. Tight rope washing machine
The tight rope washing machine cleans the double-ended rope fabric in a state of warp tension. The rope-like fabric enters the cloth guide porcelain ring from the left and right ends respectively, bypasses the rear and front cloth guide rollers of the rolling groove, enters the large roller nip point, and is separated by the distribution rod according to the number of cleaning passes, and continues to wind around the cloth guide roller padding on the large roller, generally 6 to 11 passes (that is, the rope fabric is wound around 6 to 11 times), and then the double-ended rope fabric is sprayed in the middle of the large roller and enters the upper padding liquid rolling point, and is rolled again Remove the washing liquid, then take the head from the middle of the large roller, and take out the cloth through the porcelain cloth guide ring. The tight rope washing machine has high working efficiency, the speed can generally reach 95~180m/min, and the structure is relatively simple.
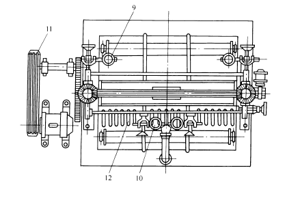
There are many types of tight rope washing machines, but their structural principles are basically the same. The 5271 type rope washing machine is now selected for introduction, as shown in Figure 4-1.
1. Frame (also called wall panel)
It supports the roller bearings and bears the weight of the machine parts and the machine during operation. The moments generated by the mechanical parts must therefore have sufficient strength and stiffness to avoid vibration and damage. The frame is often made of HT15-33 cast iron. The slideway and the bearing shell should use a loose dynamic fit, which should be perpendicular to the bottom plane of the frame to ensure that the left and right bearing shells can move up and down freely on the slideway.
2. Active and passive rollers
It is the main part of the tight rope washing machine and is also a vulnerable part. The outer diameter of the active roller is 500mm. The roller body can be made of cast iron or rolled from 12~16mm 20# steel plate. The outer circumference of the roller is machined with reverse threads, and then covered with a milky white rubber layer. The thickness of the rubber layer is 16~20mm, the hardness is HA (80±3), and the surface accuracy is not high. The roll shaft core is made of 45# steel, and there are two types: through-core shaft core and non-through-core shaft core. One end of the shaft core is connected to the transmission part. The outer diameter of the passive roller is 400mm, the surface rubber hardness is HA (80±3), the two ends are axially symmetrical, and the rest of the structure is the same as the active roller.
If the roller body is rolled and welded by steel plates, it must undergo qualitative treatment to remove internal stress. Otherwise, after a certain period of use, fracture may occur due to stress concentration at the welding point of the shaft core.
3. Liquid quenching roller
The function of the liquid quenching roller is to quench the rope fabric again after multiple paddings to reduce the rolling residue rate. The outer diameter of the quenching roller is 200mm, the roller surface is covered with white rubber, and the hardness is HA (80±3). The roller body is made of cast iron or seamless steel pipe, and the two ends are connected by rolling bearings and through-core shafts. Because the mandrel is fixed and the roller rotates, it is also called an active roller.
4. Fabric guide roller
There are two fabric guide rollers installed in the rolling groove to induce the impregnation of the rope-like fabric. The diameter of the cloth guide roller is 200~250mm. The roller body is made of seamless steel pipe, both ends are welded and sealed with bulkhead plates (A3 steel), and the stainless steel short shaft is welded in the center of the bulkhead plate. The roller surface and both ends are covered with a hard rubber layer of about 10mm, and the accuracy requirements are not high.


5. Bearings
Roller bearings adopt double row roller spherical surfaces Ball bearings and liquid manipulator rollers adopt double row ball bearings, both of which can be automatically aligned. The cloth guide roller adopts spherical sliding bearings, made of HT20-40 cast iron (for alkaline rolling grooves) or cast brass (for acidic rolling grooves), with nylon, fiberglass or bakelite bushings built in to facilitate automatic alignment. and maintenance.
6. Pressurizing device
The cleaning efficiency of the tight rope washing machine is closely related to the pressurizing device. The requirements for the pressurizing device are: sufficient pressure, stable pressurization and easy operation. Old-fashioned machines use heavy hammer levers or tension spring levers for pressurization. The 5271 tight rope washing machine adopts an electric spring pressure device, which is better than the previous two. When pressurizing, as long as the pressurization button is pressed, the special motor on the frame will drive the worm gear reducer, drive the screw nut connected to the bevel gear to rotate, causing the screw to drop, and compress the spring through the spring pressure plate, so that The pressure of the spring is exerted on the bearing shell of the passive roller. When the pressure reaches the required value, the contact rod touches the travel limit switch, and the special motor immediately stops running without increasing pressure. When parking to relieve pressure, press the pressure relief button, the motor will run in reverse, and the screw will rise. When the passive roller rises to the specified distance, all pressure will be relieved, and the contact rod will contact the upper travel switch, which will automatically stop the operation. This kind of pressurizing device is easy to operate, has good elastic buffering performance, and the roller operation is relatively stable.
As for the pressure on the upper liquid rolling roller, it is applied through a small spring installed at the end of its shaft. Its pressure increase, pressure relief and lifting actions are performed by a manual cam.
7. Rolling groove
In the past, rolling grooves were often made of wooden boards, which were easily deformed and corroded and had a short service life. Later, bricks or reinforced concrete were used as the tank body, and the inner wall was made of terrazzo or white porcelain plates, which was clean and durable. In order to resist corrosion, some are made of granite chiseled as a whole. After trials, it can withstandHeats up to 100°C, has a long service life, and is rich in natural resources. The disadvantage is that the tank body is bulky, difficult to organize, and the cost is high. You can adapt to local conditions and use materials that are easily available locally.
When conditions such as drainage and soil agree, it is advisable to bury most of the rolling groove underground. This can not only reduce the installation height of the machine, reduce vibration during machine operation, but also facilitate the operation of production personnel.
8. Distribution device
In order to prevent the rope-shaped ring fabrics from being entangled with each other during operation, distribution rods are used to separate the fabrics before they enter the rolling point. The distribution rods are mostly made of wood, but they are easy to wear and scratch the fabric. Later, porcelain rods or glass rods were used, which were easily broken and would also scratch the fabric. Nowadays, stainless steel or stainless steel pipes covered with plastic pipes are basically used, which are durable and safe.
In order to avoid the fixed position of the rope-like fabric rolling point and the local wear of the roller surface, some machines are equipped with movable distribution devices. It installs the distribution rod on a rod that can move along the axial direction of the roll, and uses a screw rod or an automatic mechanism to push the rod back and forth to change the position of the rolling point. However, due to poor environmental conditions and easy corrosion, this kind of movable distribution device often fails, so it is necessary to strengthen maintenance to ensure its normal operation.
9. Water spray pipe
In order to achieve the cleaning effect of the rope-shaped fabric that is about to leave the machine, a duckbill water spray pipe with a diameter of 76mm is installed at the fabric inlet point in the middle of the roller, and the clean water is sprayed hard On the cloth ring. The water spray position should be slightly lower than the rolling point to exert its spray cleaning effect.
In order to save water and simplify operation, the water spray valve is often connected to the transmission equipment (solenoid valve or other types of valves can be used), and the water spray port can automatically open and close when the machine starts and stops.
10. Transmission equipment
The transmission methods of the rope washing machine include overall transmission and independent transmission. Integral transmission rope washing machines are generally installed side by side horizontally, using a motor to drag the entire vertical axis. There is a flat belt drive on the vertical axis leading to each machine, and a clutch is used to control the operation of a single machine. Although this transmission form is simple, it does not meet the requirements of mass production in terms of operation and safety. The rope washing machines currently used are mainly in the form of separate transmission.
The individually driven rope washing machines can be arranged front to back to facilitate machine continuity and automation. Its linear speed can be controlled by a gravity linear speed adjustment device.
AAAE4T45UY75T


